
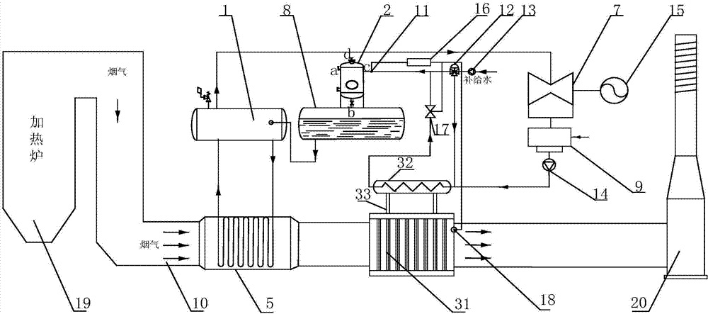
废气和水及水蒸气的换热均在热管的外表面进行,而且废气热管外侧为翅片,这样换热面积增大,传热得到强化,因而使换热系数得到了很大的提高。
通过调节热管冷热段受热表面的比例,可以调节管壁温度,使之高于烟气露点温度或极大腐蚀区,可以有效地防止因为酸露点及烟气中的硫腐蚀,延长换热器使用寿命,保证换热器的换热效率。
在运行时,由于废气的大量冲刷,即使管子受到一定的损坏,也不会造成冷侧的气水泄漏到热侧,确保了系统的安全运行,这也是该设备有别于一般烟道中设备的较大特点。
一般情况下,增加了余热回收设备,热废气的阻力增加在1500Pa左右。单根或多根热管的损坏不影响设备整体使用。
| 型号 | 额定蒸发量 (t/h) | 额定压力 (MPa) | 额定蒸汽温度 (℃) | 给水温度 (℃) |
| Q45/850-15-2.45/400 | 15 | 2.45 | 400 | 104 |
| QC170/650-35-3.82/450 | 35 | 3.82 | 450 | 104 |
| Q90/950-35-3.82/450 | 35 | 3.82 | 450 | 105 |
| BQ36/650-35-3.82/450 | 35 | 3.82 | 450 | 104 |
| BQ60/800-35-3.82/450 | 35 | 3.82 | 450 | 150 |
| Q158.7/700-35-3.82/450 | 35 | 3.82 | 450 | 104 |
| Q130/850-45-3.82/450 | 45 | 3.82 | 450 | 142 |
| 注:新力锅炉根据实际情况定制余热锅炉 | ||||
